Formules de Recherche Liées au Calcul Dimensionnel
Les différentes recherches liées aux résultats de calcul dimensionnel d’un objet ou d’un type d’objet s’effectuent par l’intermédiaire de formules dont le cadre d’utilisation est « Recherche »

Il existe plusieurs types de recherche associés aux résultats du calcul dimensionnel :
CAT | Contrôle Ecart Axe / Trav & Jonction |
CDP | Contrôle Définition Positionnement Objet |
DCD | Définition de la totalité des objets liés à un type objet ? |
ECD | Ecart Cote Objet / Calcul Dimensionnel |
GEO | Géométrie Profil |
LCD | Calcul Dimensionnel / Librairie |
LSC | Simulation Calcul Dimensionnel / Librairie |
OCD | Objets Calcul Dimensionnel |
SCD | Simulation Calcul Dimensionnel |
DZD | Découpe Zone Commerciale |
MDM | Modification Calcul Dimensionnel |
DGC | Définition Groupe de Contraintes |
SGC | Suppression Groupes de Contraintes |
VCS | Initialisation Variables Spécifiques |
SOB | Suppression Objets Multiples |
ERT | Gestion Erreurs Tracées Bloquantes |
CTH | Lancement Calcul Thermique |
LCD : Calcul Dimensionnel / Librairie
Ce type de formule a pour but de récupérer pour un objet calculé par le CDM la valeur d’une des variables calculées.
La formule de recherche se définit de la façon suivante :

Type Formule : Type de la variable a récupérer : Numérique, Caractère ou Logique
Réf Objet : référence de l’objet sur lequel on souhaite effectuer la recherche.
Cote : Référence de la variable (Standard ou spécifique) dont on souhaite récupérer le contenu
La lecture d’une variable CDM peut être réalisée sans création de formule en utilisant directement le mot clé LCD. Suivi de la variable à rechercher et entre [ ] la référence de l’objet associé à la variable.
Exemple LCD.HautHTC[VBA.RefDor] : HautHTC est la variable à récupérer, la VBARefDor doit contenir la référence de l’objet dormant associé à la recherche.
Les références de variables a rechercher doivent etre définies de façon exhaustive : pas de possibilité de définir la variable de recherche par l’intermédiaire d’une VBA, VBP ou Formule.
La référence de l’objet associée à la recherche n’est pas obligatoire. Dans le cas où celle-ci n’est pas précisée LCD.HautHTC , l’objet de recherche sera automatiquement récupérer à partir de la VBP. IMDObjSelArc alimentée automatiquement dans les branches d’arbre de type CDM, ou bien avec la VBA. IMdRefObjMod lors de la génération DT si le lien courant a été défini à partir des objets CDM.
La recherche est effectuée avec héritage : si la variable n’est pas trouvée sur l’objet de recherche (objet spécifié ou objet courant par défaut), la recherche se poursuit sur les objets de la branche courante (exemple recherche d’une variable X sur E_D1_Z1, rien n’est trouvée sur Z1 on poursuite sur E_D1 et si rien n’est encore trouvé recherche sur ‘E’.) La recherche avec héritage s’applique sur toutes les variables a l’exception de la variable REFMOD.
LSC : Simulation Calcul Dimensionnel / Librairie
Ce type de formule a pour but de récupérer pour un objet calculé par simulation, la valeur d’une des variables calculées.
La formule de recherche se définit de la même façon que le formule de recherche de type LCD.

Type Formule : Souhaite t’on récupérer une variable de format Numérique, Caractère ou Logique
Réf Objet : référence de l’objet sur lequel on souhaite effectuer la recherche.
Cote : Référence de la variable (Standard ou spécifique) dont on souhaite récupérer le contenu
DCD : Définition de la totalité des objets liés à un type d’objet
Ce type de formule a pour but de répondre par YES ou NO sur le fait que tous les objets liés à un type d’objet aient bien été calculés (calcul effectué avec les paramètres nécessaires)
La formule de recherche se définit de la même façon suivante.

Objet Départ : Reference de l’objet à partir duquel on souhaite effectuer la recherche
Type Objet : Type de l’objet sur lequel on souhaite faire le contrôle
Prenons pour exemple un ensemble 2 châssis dont le premier châssis comporte 2 zones et le deuxième châssis n’est pas encore défini.
E_D1_Z1 : OF2
E_D1_Z2 : non encore défini
Si l’objet de départ est E et que l’on demande le type d’objet Zone, le résultat de la formule sera NO, car sous E le châssis 1 a la zone E_D1_Z2 non défini et le châssis 2 n’a encore aucune zone de définie.
Si l’objet de départ est E_D1 et que l’on demande le type d’objet Zone, le résultat de la formule sera NO, car sous E le châssis 1 a la zone E_D1_Z2 non définie.
OCD : Objets Calcul Dimensionnel
Ce type de formule a pour but de donner la liste exhaustive des objets liés à un type d’objet à partir d’un niveau de recherche, Exemple : quels sont tous les ouvrants du châssis 2 ?
La formule de recherche se définit de la même façon suivante.
Type Objet : Type Objet de la recherche : Dormant, Ouvrant …
Objet Départ : Reference de l’objet à partir duquel on souhaite effectuer la recherche
Objet défini : Souhaite t’on rechercher tous les objets connus mais pas forcément caractérisés (Objets Calculés + Objets non encore calculés), uniquement ceux calculés ou bien encore uniquement ceux restant à calculer.
Remarque : Les formules de type OCD peuvent être de type Caractère : renvoie la liste chainée des objets recherchés), Numérique : renvoie le nombre d’objet recherchés, Logique : renvoie Yes si au moins un objet correspond à la recherche.
Condition / Objets Sélectionnés : Cette condition permet de filtrer les objets qui ont été sélectionnés. Pour chacun des objets sélectionnés a partir des critères spécifiés par le type d’objet, l’objet de départ et objet défini, la condition / Objet sélectionné sera appliquée. Si la condition renvoie vrai l’objet est conservé dans la liste des objets résultat de la formule OCD sinon il est exclu. L’objet en cours de sélection peut être testé dans le champ Condition/ Objet à partir de la VBP.IMDObjASelArc.
Ordre Objets / Objets Sélectionnés : Cette formule de type numérique a pour but de réordonner la liste des objets sélectionnés à partir des critères préalables (condition / objets sélectionnés appliquée). Le but est de pouvoir par exemple gérer l’ordre de génération de pointeur DT / Formule OCD. Exemple une formule OCD envoie une liste de vantaux (E_D1_Z1_V1 ; E_D1_Z1_V2). L’utilisateur souhaite que le premier pointeur créé soit toujours le vantail principal qui est représenté par l’objet E_D1_Z1_V2.
Cette formule a pour but de réordonner la liste chainée en E_D1_Z1_V2 ; E_D1_Z1_V1.
Le principe est de lancer cette formule de gestion d’ordre pour chaque objet sélectionné. La formule doit renvoyer l’ordre de l’élément (1 ; 2 ; 3 …) en fonction de l’élément transmis via la VBP. IMDObjSelArc. Tous les objets non pris en compte par la formule seront classés en début de liste.
CDP : Contrôle Définition Positionnement Objets Calcul Dimensionnel
Ce type de formule a pour but de donner la liste exhaustive de tous les objets de type jonction, traverse dormante et traverse ouvrante dont la position H ou L n’est pas défini.
Lorsque l’on définit par exemple un Dormant 3 zones avec deux traverses verticales, il n’est pas obligatoire lors du calcul de l’objet dormant de définir la position des traverses. Les paramètres L1 et L2 peuvent restés à zéro, matérialisant ainsi que ces traverses peuvent être déplacées lors d’un calcul de clair égaux. Lorsque ces paramètres restent à zéro, le plugin réparti de façon égale la position des traverses sur la largeur du dormant afin de pouvoir générer le dessin du dormant.
Le scénario peut être ainsi totalement saisi sans que la position des traverses ait été figée par un calcul de clairs égaux, ou par le fait que l’utilisateur est contraint l’alignement de ces traverses par rapport à d’autres objets, et pour autant le dessin peut sembler cohérent pour l’utilisateur. Les formules de type CDP permettent de détecter tous les objets de ce type, qui sont restés sans positionnement figé.
La formule de recherche se définit de la même façon suivante.

Type Objet Sélectionnés : Liste à sélection multiple permettant de spécifier les Types Objets sur lesquels on souhaite effectuer la recherche : Jonction, traverses dormantes, traverses ouvrantes.
Objet Départ : Reference de l’objet à partir duquel on souhaite effectuer la recherche
CAT : Contrôle Ecart Axe / Objets Calcul Dimensionnel
Ce type de formule a pour but de donner la liste exhaustive de tous les objets dont l’axe de positionnement est trop proche d’un autre objet, par rapport à une valeur donnée en paramètre.
La formule de recherche se définie de la même façon suivante.

Objet Départ : Reference de l’objet à partir duquel on souhaite effectuer la recherche
Type Objet Sélectionnés : Liste à sélection multiple permettant de spécifier les Types Objets sur lesquels on souhaite effectuer le contrôle.
Ecart mini : valeur mini (mm) en dessous de laquelle les objets sont considérés comme trop proche
Tolérance acceptée : Tolérance d’écart entre axe accepté : Les objets dont l’écart mini est inférieur à 200 mm seront considérés trop proche, mais si les objets sont à un écart compris dans la tolérance acceptée (2 mm par exemple) on considère qu’ils ne sont pas en écart car très proche l’un de l’autre et peuvent être considérés comme alignés.
ECD : Ecart sur Cotes / Objets Calcul Dimensionnel
Ce type de formule a pour but de déterminer, lors du recalcule d’un objet, si la valeur saisie en critère de la formule à évoluer ou pas. Le périmètre d’utilisation de cette formule se limite à l’outil de déroulement des contextes après calcul d’un objet. Exemple suite au recalcule d’un Ouvrant, on souhaite savoir si la hauteur du vantail à évoluer afin de redérouler ou pas la question hauteur de poignée du contexte lié à l’objet modifié.
Le plugin met à disposition les VBP suivent :
VBP.IMDObjCal : Reference de l’objet en cours de calcul.
VBP.IMDCtxCal : Référence du contexte lié a l’objet en cours
VBP.IMDLstElemGrp : Lors de la suppression d’un groupe de contrainte de claire de vitrage égaux, cette VBP contient la liste chainée (;) des éléments constituants le groupe.
VBP.IMDLstObjCal : liste chainée (;) de tous les objets venants d’être recalculés.
La formule de recherche se définit de la même façon suivante.

Référence Objet : Reference de l’objet de recherche
Cote : référence de la variable de calcul dont il faut récupérer le contenu
Type Recherche : Deux options de recherche sont proposées :
Ecart valeur : cette option permet de déterminer si la valeur de la variable de calcul à évolue entre le dernier calcul et l’avant dernier. Le type de formule passe automatiquement à Logique.
ValAvant : cette option permet de récupérer la valeur de la variable de calcul de l’avant dernier calcul. La valeur du dernier calcul peut être récupérer par formule de type LCD
GEO : Géométrie Profil
Ce type de formule a pour but de récupérer une des caractéristiques d’une géométrie, d’un groupe de profil ou d’une masse centrale.
La formule de recherche se définit de la même façon suivante.

Type Recherche : Type d’élément recherché :
PRO : Géométrie Profil
GRP : Groupe de géométrie Profil
MAC : Masse centrale
Référence : Reference sur laquelle la recherche doit être effectuée ; liée au type de recherche.
Cote : Référence de la caractéristique à récupérer. La liste d’aide proposée est lié au type de formule.
SCD : Simulation Calcul Dimensionnel
Ce type de formule a pour but de simuler les caractéristiques dimensionnelles d’un objet sans enregistrer le résultat. Une formule de simulation permet de faire un « essai » afin de vérifier les résultats obtenus, lancer si besoin une autre simulation et lorsque les résultats sont satisfaisant exécuter la « vraie » formule de calcul.
Elle attend pour cela :

La référence de l’objet à calculer : la valeur peut être exhaustive (E ; E_D1…) ou bien donnée sous forme de VBA ou de formule = VBA.XXX
Le modèle de la librairie : la valeur peut être exhaustive (CDREC1Z, CDFICHE…) ou bien donnée sous forme de VBA ou de formule = VBA.XXX, ou bien encore récupérer directement du QOP si le calcul est lancé à partir d’un QOP : ModeleQOP.
Paramètres : Ce champ permet de spécifier les paramètres avec leur valeur attendu par le modèle. Dans la majorité des cas les paramètres seront donnés soient par l’intermédiaire d’une matrice de correspondance modèle, soient si le calcul est effectué dans un QOP en indiquant dans le champ paramètre la valeur ParamQOP, Diapason récupèrera dans ce dernier cas la valeur des différentes VBA du QOP nécessaires à la définition du modèle.
Contrôle après Calcul : non utilisé
Lien Formule / Contexte : Saisir RatCtxCre ou RatCtxMod. Non Utilisé en simulation.
DZD : Découpe Zone Commerciale
Ce type de formule a pour but de découper une zone d’un modèle dormant déjà défini en plusieurs « sous zones ».
Exemple de découpe d’un dormant deux zones. Z2 est composée d’un ouvrant avec soubassement. L’utilisateur souhaite découper la zone Z1 en deux zones dormantes afin de positionner une traverse horizontale dormante dans le prolongement de la traverse de soubassement.
![]() | ![]() |

Ref objet : référence de la zone devant être découpée. La valeur peut être exhaustive (E ; E_D1 ;E_D1_Z1 (Zx ou AL pour allège, ZP pour zone principale… voir paramètres dormant) …) ou bien donnée sous forme de VBA ou de formule = VBA.XXX
Modèle : référence du modèle de découpe permettant de définir la nature de la découpe de la zone. La liste des modèles correspond aux modèles de type remplissage de la forme à découper. La valeur peut être exhaustive (CDRREC2Z1H, CDRARC23Z1H1V …) ou bien donnée sous forme de VBA ou de formule = VBA.XXX ou bien encore récupérer directement du QOP si le calcul est lancé à partir du QOP Zone : ModeleQOP.
Paramètres : Ce champ permet de spécifier les paramètres avec leur valeur attendu par le modèle (Hx et Ly en autre). Dans la majorité des cas les paramètres seront donnés soient par l’intermédiaire d’une matrice de correspondance modèle, soient si le calcul est effectué dans le QOP Zone en indiquant dans le champ paramètre la valeur ParamQOP, Diapason récupèrera dans ce dernier cas la valeur des différentes VBA du QOP nécessaires à la définition du modèle.

L’ancien élément Z1 du calcul dimensionnel devient un élément X1. Cet élément ne dispose pas des informations d’une zone mais il est toujours possible d’effectuer des formules de lectures de dimensions et de position de type LCD sur l’objet X1 ou sur l’ancien élément Z1.
Informations disponibles sur une Zone Commerciale :
Il n’y a pas de calcul dimensionnel enregistré sur l’élément « X » issu de l’ancienne zone « Z ». Toutefois il est encore possible d’obtenir les dimensions des cotations CLAZ, FFICD, HTDZ, ListeElem[H,B,G,D] ainsi que les dimensions saisies « *ZonSai » avec les formules de type « LCD ». Dans le cas d’une zone commerciale, la formule LCD recalcule une information à partir de l’ensemble des zones découpées (ici Z1/1, Z1/2 et Z1/3). Il est donc impératif que toutes ces zones soient définies. | ![]() |
MDM : Modification Calcul Dimensionnel
La définition de ce type de formule est identique à la formule de calcul dimensionnel CDM, mais permet dans le cas où l’objet a déjà été calculé et que l’on change de modèle rattaché à l’objet, d’effectuer une réaffectation des zones et des paramètres entre l’ancien et le nouveau modèle.
Exemple passage d’un Dormant 2 Zones avec traverse verticale à un Dormant 3 Zones correspondant au modèle précédent avec une imposte :
Modèle CDREC2Z1V Modèle CDREC3ZH1H1V |
![]() |
Lors du changement de modèle Dormant et donc du recalcul des différents objets déjà calculés ouvrant, remplissage, type remplissage… le plugin de configuration réattribue les éléments déjà calculés à ceux recalculés avec la même référence.
Dans notre exemple les objets de la zone 2 du modèle CDRec2Z1V vont être réattribués nativement à la zone imposte lors du calcul du Dormant avec le modèle CDREC3ZH1H1V.
Les formules de calcul de type MDM permettent en plus du calcul dimensionnel « classique » de réattribuer les zones entre l’ancien modèle et le nouveau modèle à l’aide de structure de paramétrage dédiée. Dans notre exemple il sera ainsi possible de réattribuer tous les objets liés à la zone 2 du modèle CDREC2Z1V à la zone 3 du modèle CDREC3ZH1H1V, et ainsi éviter d’effectuer une ressaisie. Le transfert peut être réalisé pour le résultat du calcul dimensionnel mais aussi pour les contextes associés à ces objets.
Correspondances Modèles
La correspondance modèle est accessible depuis le couplage de maintenance des objets dessin.

L’utilisateur doit paramétrer tous les couples Modèle d’origine / Modèle Destination (et vice versa) pour lesquels il souhaite gérer une correspondance.
Lors du changement de modèle, une partie (pas nécessairement la totalité) des paramètres donnés à la formule de calcul dimensionnel peuvent être surchargés ou complétés par des paramètres propres au couple ancien modèle/nouveau modèle. Ce complément peut se définir au niveau du paramétrage correspondances modèles via une matrice de correspondance dont le type de correspondance est multiple :

Le détail de la matrice necessite de spécifier le ou les couples anciens modeles/nouveaux modeles pour lesquels un complément doit etre paramétré.

Dans l’exemple ci-dessus le type de coupe sera surchargé à la valeur C90VF lors du passage du modèle CDREC2Z1V au modèle CDREC3ZH1H1V.
Le TDY Détail de la correspondance accessible depuis l’entête de la correspondance permet de spécifier la correspondance entre les différentes zones et autres éléments des deux modèles :

Cet outil permet donc de réattribuer toutes les zones de l’ancien modèle sur celles du nouveau modèle et d’affecter des valeurs aux nouveaux paramètres. Dans l’exemple ci-dessus la zone 2 est transférée sur la zone 3 et la hauteur de la nouvelle traverse TH1 est alimentée automatiquement avec la valeur de la VBA.i_hautot.
Un complément de paramétrage (init VBA, VBP…) peut être réalisé au titre du changement de modèle.
Un TDY détail Maj Correspondance, accessible depuis le tableur ci-dessus permet de décrire les différents Maj à réaliser :

Ces maj, peuvent donc être décrites au titre d’un couple d’un couple ancien modèle / nouveau modèle, en complément des E/S.
DGC : Définition Groupe de Contraintes Clair Egaux
Ce type de formule a pour but de définir les différents groupes de clair de vitrage Horizontaux et/ou verticaux devant être pris en compte pour le calcul de clair de vitrage égaux.
Le calcul de clair de vitrage égaux, essaye dans la mesure du possible d’égaliser tous les clairs de vitrage spécifiés dans chacun des groupes de contraintes définis par formule ou par sélection manuelle (interface graphique souris).
Le calcul modifie pour cela la position, des jonctions, traverses dormante, traverses ouvrantes, masse centrale pour lesquelles aucune contrainte de position n’a été définie (valeur numérique du paramètre H ou L = 0).
Les formules de définition des groupes de contraintes ont pour but de définir les différentes zones remplissage pour lesquels les clairs doivent être égalisés.

Type Groupe : le groupe concerne-t-il une égalisation de clair verticaux CVV ou horizontaux CV ?
Réf Groupe : référence du groupe de contrainte. Cette référence servira à identifier le groupe dans le cas d’une demande de suppression d’un groupe. Lors de la définition d’un groupe de contraintes dont la référence existe déjà, l’ancien groupe est remplacé par le nouveau calcul.
Liste Eléments Groupe : Liste chainée (;) des références de remplissage constituant le groupe de clair à égaliser. Un remplissage ne peut appartenir qu’a un seul groupe. Dans le cas de la constitution d’un nouveau groupe, si un remplissage lié à ce groupe est déjà rattaché à un autre groupe, le nouveau groupe n’est pas constitué.
La liste chainée des éléments peut être donnée sous forme de VBA, VBP ou FOR.
Les groupes de contraintes peuvent être constitués avant même que les remplissages liés ne soient définis. Le calcul dimensionnel ne prendra cependant en compte ces groupes de contraintes qu’une fois tous les remplissages calculés.
Lorsque des groupes de contraintes sont initialisés par formule de calcul ou manuellement, la liste des différents groupes constitués est consultable de l’outil de restitution des résultats du calcul dimensionnel :

SGC : Suppression Groupe de Contraintes Clair Egaux
Ce type de formule a pour but de supprimer un groupe de contraintes de calcul de clairs égaux.

Type Groupe : le groupe à supprimer concerne-t-il une égalisation de clair verticaux CVV ou horizontaux CVH.
Réf Groupe : référence du groupe de contraintes Clair Egaux à supprimer.
VCS : Initialisation Variable Spécifique / calcul Dimensionnel
Ce type de formule a pour but de compléter les variables de calcul standard d’un objet du calcul dimensionnel avec ses propres variables de calcul. Ces variables pourront être récupérées par formule et pourront par exemple servir à des contrôles de cohérences entre objet.
La création des Variables spécifiques Calcul Dimensionnel (VCD) est accessible depuis l’outil de maintenance des objets dessin.


Chaque variable à créer doit être décrite à l’aide du tableur ci-dessus.

La référence de l’objet à calculer : la valeur peut être exhaustive (E ; E_D1…) ou bien donnée sous forme de VBA ou de formule = VBA.XXX
Référence Variable : Référence de la variable spécifique de type VCD que l’on souhaite mettre à jour sur donné dans le paramètre Ref Obj.
Valeur d’initialisation : Ce champ permet de spécifier le contenu de la variable à mettre à jour. La valeur d’init peut être une constante ou bien une expression à calculer : = VBA.XXX ou VBP.YYY ou encore = FOR.ZZZ.
Les variables spécifiques peuvent être lues à tout moment dans les règles de configuration à l’aide d’une formule de type LCD.
SOB : Suppression Objets multiples
Ce type de formule a pour but de supprimer tous les objets du type spécifié et à partir d’un objet donné. Exemple suppression de tous les oculi à partir du niveau E_D1_Z1 : cela se traduit par la recherche de tous les objets de type oculus qui sont dans l’arborescence (fille) de E_D1_Z1, puis leur suppression.
Objet Départ : référence de l’objet à partir duquel la recherche des objets lié au type d’objet à supprimer doit être effectué (E ; E_D1…). Les objets a supprimer sont recherchés dans l’arborescence fille de l’objet de départ.
Type Objet à supprimer : Type des objets devant être supprimés
BVR : | BVR |
Dor : | Dormant |
Ens : | Ensemble |
JoncH : | Jonction Horizontale |
JoncV : | Jonction Verticale |
Oculus : | Oculus |
OptOuv : | Option Ouvrant |
OptRemp : | Option Remplissage CPB |
Ouv : | Ouvrant |
Remp : | Remplissage |
TravH : | Traverse Dormant Horizontale |
TravOuvH : | Traverse Ouvrant Horizontale |
TravOuvV : | Traverse Ouvrant Verticale |
TravV : | Traverse Dormant Verticale |
TypRem : | Type Remplissage |
Vtl : | Vantail |
ERT : Gestion d’Erreurs Tracées bloquantes fin de scenario avec clé
Ce type de formule a pour but de générer ou supprimer une erreur (ou un warning ou un message) rattachée à un objet du calcul dimensionnel en identifiant la nature de l’erreur par une clé. L’erreur (ou un warning ou un message) est créée par paramétrage et doit être aussi supprimer par paramétrage.
Les erreurs Tracées seront bloquantes pour valider la saisie de la configuration , alors que les warning ou les messages tracés ne sont qu’informatifs et seront enrgistrés lors de la validation de la configuration , puis restitués lors de la modification cette configuration.

Ref Objet : Référence de l’objet sur lequel on souhaite rattachée l’erreur, la valeur peut être exhaustive (E ; E_D1…) ou bien donnée sous forme de VBA ou de formule = VBA.XXX. Si l’erreur L’erreur (ou le warning ou un message) n’est pas directement liée à un objet mais a un groupe d’objet, reporter l’erreur sur l’objet de plus haut niveau ‘E’.
Cle d’Identification : Référence de la clé permettant d’identifier l’erreur afin de pouvoir la supprimer par la suite. La valeur d’init peut être une constante ou bien une expression à calculer : = VBA.XXX ou VBP.YYY ou encore = FOR.ZZZ.
Libellé / Action : Ce champ permet de spécifier le libellé de l’erreur a tracer. La valeur d’init peut être une constante ou bien une expression à calculer : = VBA.XXX ou VBP.YYY ou encore = FOR.ZZZ. Dans le cas où vous souhaitez supprimer l’erreur, vous devez indiquer SUPERR dans ce champ
Type : Ce champ permet de spécifier si le contrôle est de type Erreur bloquante fin de scénario, Warning ou Message. Cette valeur peut être alimentée à partir d’une donnée dynamique via une VBA, VBP ou Formule.
Lorsqu’un objet est supprimé (exemple modification d’un dormant de 3 zones a 2 zones : suppression de l’objet E_D1_Z3) les erreurs tracées rattachées à cet objet sont automatiquement supprimées.
CTH : Lancement Calcul Coefficients Thermiques
Le calcul des coefficients thermiques évalue les coefficients Uw – Sw – TLw pour chaque châssis composant l’ensemble en cours.
Un calcul complémentaire et réalisé au titre de l’ensemble (« moyenne » des coefficients des différents chassis)
Ces calculs peuvent être forcés à la demande à l’aide de formule de type CTH. Ils peuvent être lancés automatiquement, dans la mesure où les différents paramètres nécessaires sont définis, en fonction de la valeur de la VBP. IMDCalCT :
ALaDemande : Le calcul de coefficients thermiques est effectué à la demande via une formule de type CTH
Validation : Le calcul de coefficients thermiques sera effectué en phase final de validation du scénario
Toujours : Le calcul de coefficients thermiques sera effectué suite à chaque calcul dimensionnel
Jamais : Le calcul de coefficients thermiques n’est jamais effectué.

Aucun paramètre spécifique n’est nécessaire pour la définition de la formule de lancement manuel.
Rappel Principe de calcul :

Le coefficient de transmission thermique Uw de la fenêtre, de la porte ou de la porte-fenêtre peut être calculé selon la formule suivante :

où
Ag est la plus petite des aires visibles du vitrage, vues des deux côtés de la paroi en m2. On ne tient pas compte des débordements des joints ;
Af est la plus grande aire projetée de la menuiserie prise sans recouvrements (incluant la surface de la pièce d’appui éventuelle), vue des deux côtés de la paroi, en m2
Lg est la plus grande somme des périmètres visibles du vitrage, vus des deux côtés de la paroi en m
Ug est le coefficient de transmission thermique surfacique utile en partie centrale du vitrage en W/(m2.K) :
a – Dans le cas général d’un produit marqué « CE », le coefficient surfacique utile du vitrage isolant prend les valeurs suivantes :
Ug = 1,05 Ug,d si verre à couche basse émissivité ou vitrage isolant à couche basse émissivité et remplissage air ;
Ug = 1,10 Ug,d si vitrage isolant à couche basse émissivité et remplissage gaz autre que l’air.
Ug,d étant le coefficient de transmission surfacique du vitrage, déclaré dans le cadre du marquage « CE ».
b – Dans le cas d’un produit non marqué « CE », le coefficient de transmission surfacique utile Ug est déterminé d’après le § 2.3.1 ou d’après le chapitre 3 (valeurs par défaut) de ce fascicule.
Uf est le coefficient surfacique moyen de la menuiserie en W/(m2.K) calculé selon la formule suivante :

où :
Ufi est le coefficient surfacique du montant ou de la traverse numéro « i ». La méthode de calcul des coefficients Ufi est donnée au paragraphe 2.3.2 ;
Afi est son aire projetée correspondante. La largeur des montants en partie courante est supposée se prolonger sur toute la hauteur de la fenêtre ;
ψg est le coefficient linéique dû à l’effet thermique combiné de l’intercalaire du vitrage et du profilé, en W/(m.K). La méthode de calcul de ψg est donnée au paragraphe 2.3.3.
Lorsque le vitrage est remplacé en partie par un panneau opaque, Uw doit être calculé par la formule ci-après :

Où
Up est le coefficient surfacique en partie centrale du panneau opaque en W/(m2.K). La méthode de calcul correspondante est donnée au paragraphe 2.3.1 ;
ψp est le coefficient linéique dû à l’effet thermique combiné de l’espaceur du panneau et du profilé, en W/(m.K). La méthode de calcul de ψp est donnée au paragraphe 2.3.3 ;
lp est la plus grande somme des périmètres visibles du panneau, vus des deux côtés de la paroi en m.
Avec

Coefficient Thermique Solaire SW
Le facteur Sw d’une fenêtre est aussi essentiellement fonction de deux paramètres, la surface qui est noté A et le facteur solaire des matériaux noté S qui composent la fenêtre, à savoir :
Ag = la surface visible du vitrage et Sg = le facteur solaire du vitrage pour les conditions de calcul de consommation « Hivers », (donnée fournie par le fournisseur de vitrage)
Af = la surface des montants et des traverses de la fenêtre et Sf = le facteur solaire des montants et des traverses de la fenêtre, pour les conditions de calcul de consommation « Hivers », cette donnée est calculée suivant la formule suivante :
Sf = α . Uf / he
α est le coefficient d’absorption de la menuiserie selon sa couleur, à savoir :

et he est la valeur d’échange superficiel qui, pour le bois, est égale à 25 (en W/m2 K) donc pour une menuiserie en bois, Sf = α . Uf / 25
Ainsi la formule de calcul du Sw d’une fenêtre est :


Facteur de transmission lumineuse global de la fenêtre

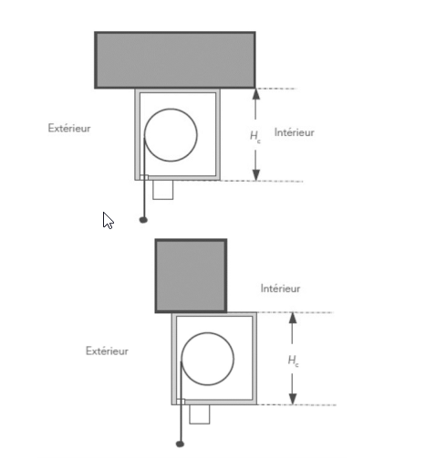
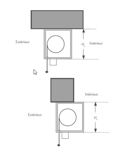
Coefficients Thermiques avec Coffre : Uc , Ujn , Uwf
La performance thermique d'un coffre sous dalle ou sous linteau s'exprime à travers un coefficient de transmission surfacique Uc .
Dans le cas d'un coffre derrière linteau associé ou non à une isolation par l'intérieur ou l'extérieur, la performance thermique s'exprime à l'échelle de la paroi intégrant le coffre à travers un coefficient de transmission surfacique Up .
Figure 1 Coffre sous dalle ou sous linteau

Remarque : le paramètre BVRDerLin de l’objet BVR ( BVR Derrière Linteau ?) permet de spécifier si le coffre est sous linteau.

Le coefficient surfacique moyen du coffre sous dalle ou sous linteau Uc se calcule d'après la formule suivante :
Avec :
Uc : coefficient surfacique moyen du coffre, en W/(m2 K) ;
Uc1 : coefficient surfacique moyen en partie courante du coffre, en W/(m2·K) ;
Ue : coefficient surfacique des embouts du coffre, en W/(m2 K) ;
Ae : aire de l'embout du coffre en contact direct avec l'ambiance intérieure, en m2 ;
Ac : aire projetée du coffre, en m2 (= Hc × Lc).
Le résultat final du coefficient de transmission surfacique Uc du coffre ou Up de la paroi intégrant le coffre doit être arrondi à deux chiffres significatifs.
Les résultats intermédiaires (Ue, Up1, Uc1) doivent être arrondis à trois chiffres significatifs. La hauteur et la largeur du coffre (Hc, Lc) doivent être arrondies à trois chiffres significatifs. La surface Ae (aire de l'embout du coffre en contact direct avec l'ambiance intérieure) doit être arrondie à quatre chiffres significatifs.

Définition des coefficients surfacique
Le coefficient surfacique de chacun de ces éléments devra être fourni en fonction des différentes Géométries utilisées en prenant en compte les renforts éventuels ainsi que des paramètres complémentaires tels que les boucliers thermiques.
Les clés de renforts et clés de compléments thermiques peuvent être initialisées lors du calcul dimensionnel (création et modification) de chaque objet lié à des géométries. Ces clés doivent être définies via un type de matrice dédiée (matrice de coefficient thermique, cadre utilisation : coefth) devant être rattaché à la formule de calcul dimensionnel.
Ces clés de renforts ou essence et clés complémentaires peuvent être aussi initialisées après la définition de l’objet, en fin de scénario par exemple, suite à un calcul global des renforts. La mise à jour de ces paramètres peut donc être effectuée en tant que complément de données de chacun des objets. Un calcul dimensionnel de chaque objet le nécessitant doit être effectué via une formule CDM de type CoefTh qui permet de ne mettre ajour que les paramètres liés au coefficient thermique sans relancer l’intégralité de la chaine du calcul dimensionnel (optim). La formule ne prend en compte que l’objet et la matrice de coef thermique liée (initialisé le modèle avec CoefTh)
Les matrices de paramètres de coefficient thermique ( cadre utilisation CoefTh) sont décomposées par type d’objet :
Ensemble
Dormant
Ouvrant
Remplissage
TypeRemp

Les paramètres de sorties de la matrice permettent de définir sous forme de liste chainée les différentes clés thermiques de chacune des géométries liées au type d’objet rattaché à la matrice.
Exemple de syntaxe à utiliser :
GEOB=Renf1;GeoH=Renf2;GeoG=Renf3;GeoD=Renf3
GeoB : géométrie basse
GeoH : géométrie haute
GeoG : géométrie gauche
GeoD : géométrie droite
V1.GeoH : géométrie haute du vantail 1
VP.GeoH : géométrie haute du vantail principal (calculée en fonction du sens d’ouverture)
VS.GeoH : géométrie haute du vantail semi fixe (calculée en fonction du sens d’ouverture)
MC.VP : géométrie du vantail principal de la masse centrale
MC.VS : géométrie du vantail semi fixe de la masse centrale
GeoPA : géométrie pièce d’appui.
La définition des différents coefficients surfaciques est accessible depuis l’outil de maintenance des objets dessin.

Les différents coefficients surfaciques doivent être exprimés en W/m².K et dépendent des différentes géométries ainsi que les clés renforts et clés complémentaires utilisées. Dans les cas où tous les éléments (type géométrie) constituant la combinaison ne sont pas connus la valeur * peut être utilisée en tant que valeur de substitution.
Les clés de renforts et clés complémentaires doivent être exhaustives ou vide (la valeur * n’est a priori pas adéquat).
Remarque : Lors du calcul des coefficients thermique à l’ensemble, la définition des coefficients surfacique des nœuds liés aux cadres dormants, normalement définie par le groupe de profils : Dormant, élargisseurs dormants, ouvrant, élargisseur ouvrant, élargisseur vantail et élargisseur Remplissage, doit être complétée par les profils de jonction permettant de lier les dormants entre eux :
Plusieurs outils de paramétrage sont donc nécessaires pour spécifier les valeurs des Ufi des différents groupes de profils : Coefficient Cadre Avec Jonction pour le calcul a l’ensemble ( pris en compte du profil de jonction) et Les coefficients cadre Traverse basse, , haute , gauche & droite pour le calcul au chassis ( sans prise en compte du profil de jonction).

Le calcul de coefficient thermique ne peut être réalisé qu’à partir du moment où tous les objets Dormant, Traverses, Ouvrants et Remplissages ont été calculés.
Le résultat du calcul ainsi que les différents paramètres de ce calcul sont consultables depuis l’outil de consultation des résultats de la couche dimensionnel. Ils sont rattachés aux différents châssis ainsi qu’a l’objet Ensemble.
Fonction Déroulement contexte / Objet calcul Dimensionnel
Suite au calcul ou re-calcul de chaque objet le plugin met à disposition un outil dont le but est de pouvoir paramétrer des contrôles liés à ces objets. Cet outil permet de plus de re-dérouler en mode calcul une partie des contextes liés aux objets en cours de calcul ou recalcule.
Cet outil de type tableur permet donc de centraliser les différentes actions à exécuter suite au calcul ou recalcul d’un objet.
Par exemple suite à l’alignement d’une traverse par rapport à une autre, un certain nombre d’objets liés à la position de cette traverse vont être automatiquement recalculés. Certains de ces objets peuvent nécessiter la mise à jour de VBA sur les contextes qui leur sont associés, ou bien encore la ré-exécution du contrôle global de ces contextes ou le calcul du libellé. Cet outil permet de cibler précisément ce que l’on souhaite ré-exécuter telle ou telle VBA, telle ou telle phase finale du contexte (contrôle global, calcul prix, calcul libellé ou/et Nomenclature de contexte) afin d’être le plus rapide lors du déroulement de ces contextes.
Le tableur dynamique de paramétrage est accessible depuis l’outil de maintenance des listes d’aide des VBA


Reference Scénario : Référence du scénario lié a ce paramétrage
Type Objet : Type d’objet venant d’etre calculé pour lequel on souhaite effectuer un paramétrage
Modele de contexte de référence : Modèle du contexte associé à l’objet pour lequel on souhaite effectuer un paramétrage (mettre * si l’on ne souhaite pas de contrainte sur le modele de contexte).
Maj Pour Création CDM : le paramétrage qui suit doit-il etre enclenché lors l’objet est en cours de création
Maj Pour Modification CDM : le paramétrage qui suit doit-il etre enclenché lors l’objet est en cours de Modification
Maj Action Dessin : le paramétrage qui suit doit-il etre enclenché lors l’objet est en cours de recalcul suite à une action liée au dessin ( Aligement de traverses, calcul de clair egaux)
Nature de MAJ : Nature liée à la clé scénario/type objet /modele contexte. Seule la premiere condition valide d’une même nature, classée par N° Ordre sera traitée.
N°Ordre Riorité : N° Ordre lié à la nature.
Condition : Condition de validité
Ctx Forcé à redérouler : Chaque Objet venant d’être Calculé ou recalculé (VBP. IMDObjCal) est lié à un contexte de rattachement (voir paramètre formule CDM) qui sera considéré comme contexte à dérouler. Cette référence de contexte est accessible à partir de la VBP. IMDCtxCal. L’utilisateur peut cependant demander à forcer le redéroulement d’un autre contexte en alimentant dans le champ Ctx Forcé a redérouler, la référence du contexte qu’il souhaite rederouler.
Pour chaque objet en cours de traitement ( VBP. IMDObjCal) , la VBP. IMDLstObjMmTyp permettra d’identifier la liste ( separateur ; ) de tous les autre sobjets de meme type ( zone, vantail, remplissage ..) que celui en cours de traitement. Cette liste chainée peut etre utilisée afin de savoir si l’objet en cours de traitement est le dernier des objets de meme type a traiter. Exemple sur le dernier remplissage, je lance un calcul de clair égaux.
Type Déroulement : nature de l’action a réaliser :
ARC : Exécution d’un arbre de condition permettant par exemple d’effecuer des contrôles sur les résultats de calcul du calcul dimensionnel. Ces arbres peuvent aussi permettrent de relancer d’autres calculs. Exemple lorsque le dernier ouvrant de l’ensemble est défini, recherche des différents profils utilisés dans chacun des ouvrants, recupération du profil le plus important, puis harmonisation du profil ouvrant pour tous les ouvrants en modifiant le parametré Goématrie profil et relance du calcul. Ces différentes actions peuvent s’effectuer par l’intermediaire d’un arbre de condition
CTRVBA : Redéroulement des VBA selectionnées dans le champs Ref Champ. Ce rederoulement exécute les Entrées, le contrôle de la valeur, les Sorties et la génération du dessin lié à la question.
Remarque : Lors du redéroulement des VBA en mode calcul seules, les règles liées aux VBA à redérouler sont éxécutées, les VBP ou VBA de travail aliméntées dans les regles E/S des questions non déroulés ne seront donc pas expoitables.
DERCAL : Redéroulement du contexte lié à l’objet en mode calcul. Plusieurs phases peuvent etre exécuter : Contrôle Glocal contexte, Calcul Prix, calcul libellé et nomenclature de contexte.
DERCTX : Redéroulement complet en automatique du contexte lié à l’objet en mode calcul








